Hello, welcome to Hangzhou Jingwang Technology Co., Ltd!
語言選擇: ∷ 

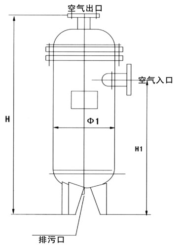
JWS high efficiency oil water separator

Release time:2020-01-03 10:36viewed:times
Working principle
It integrates the two-stage purification of cyclone separation and coalescing filtration, directly intercepts the oil and water in the compressed air, and removes ≥ 98% oil and water and dust in the compressed air through cyclone separation, inertial collision, gravity settlement.
 
Technical index
Working pressure: 0.4 ~ 1.0MPa (1.0 ~ 3.0MPa can be provided) air inlet temperature: ≤ 50 ° C
Gas liquid separation efficiency: ≥ 98% pressure loss: ≥ 0.02MPa

  • 24-hour hotline+86 0571-63266676

  • The mobiles phones13775351259

Copyright © 2002-2019 Hangzhou Jingwang Technology Co., Ltd All rights reserved Address:12 Shuangjiang Road, Xindeng Town, Fuyang District, Hangzhou ICP:ICP備19860888號 

石榴视频_石榴视频下载_石榴视频在线观看_石榴微福利视频